雙活塞制動輪缸
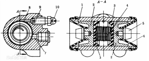
如圖 所示為雙活塞式制動輪缸。

缸體1 用螺栓固定在制動底板上。缸內有兩個活塞2,兩活塞之間的內腔由兩個皮碗3 密封。制動時,制動液自油管接頭和進油孔7 進入,活塞在液壓作用下外移,通過頂塊5 推動制動蹄張開。彈簧4 保證皮碗、活塞及制動蹄的緊密接觸,并保持兩活塞之間的進油間隙。
如圖 所示為雙活塞式制動輪缸。

缸體1 用螺栓固定在制動底板上。缸內有兩個活塞2,兩活塞之間的內腔由兩個皮碗3 密封。制動時,制動液自油管接頭和進油孔7 進入,活塞在液壓作用下外移,通過頂塊5 推動制動蹄張開。彈簧4 保證皮碗、活塞及制動蹄的緊密接觸,并保持兩活塞之間的進油間隙。
手機版|
關注公眾號|

下載手機APP

