王貢獻 詹 宇
武漢理工大學物流工程學院 武漢 430063
摘 要:強風侵襲是促使岸橋發生傾覆破壞的重要原因。為了研究風載荷作用下軌行式起重機的結構位移響應,以岸邊集裝箱式起重機為研究對象,通過建立風振響應模型,分析動態響應結果,對整機滑動造成的影響展開了詳細研究。結果顯示,該模型可以預測岸橋的結構位移響應,可對起重機的設計提供參考。
關鍵詞:岸邊集裝箱起重機;風振模型;位移響應;強風
中圖分類號:U653.921 文獻標識碼:A 文章編號:1001-0785(2020)17-0046-05
0 引言
隨著集裝箱碼頭數量的增多,集裝箱港口的吞吐量不斷增加,使得岸邊集裝箱起重機(以下簡稱岸橋)朝著大型化、高效率的方向發展,由此導致岸橋迎風面積和風力中心的高度增加,所以岸橋遭受風災的可能性也隨之增高[1]。
在早期研究中,工程師往往忽略了風載荷的動態效應,直到美國新建的懸索橋在投入使用僅四個月被遠低于設計風速的風力作用下發生破壞,人們才開始重視對風載荷的研究。目前,研究人員對岸橋風振響應進行了大量研究。C.Klinger[2] 利用非線性和非平穩理論的結合,研究了起重機結構桿件的風振響應,通過實驗驗證了風載荷造成的疲勞損傷是桿件斷裂的主要原因。李曉猛[3]以岸橋為研究對象,利用風洞試驗分析了圓形桿件的風振問題,發現了在風載荷作用下桿件后方出現的渦流及產生風振的原因。Seong Wook Lee[4] 等采用風洞試驗研究了風荷載對集裝箱起重機穩定性的影響,根據風荷載作用下起重機各支承點上拔力和入射角確定了各方向阻力和傾覆力矩系數,為設計人員提供了參考。Jong-Hoon Kang[5] 通過對1/150 的集裝箱起重機模進行風洞模擬實驗,研究發現起重機在開闊內陸時較開闊海岸的
風載荷減少了20%。Sang-Joon Lee[6] 通過對集裝箱起重機進行風洞實驗,研究了雷諾數對氣動系數的影響,并發現樓梯、車輪、扶手等將會增加風載荷對起重機結構的影響。D.S.Han[7] 以集裝箱起重機為研究對象,使用Ansys CFX 軟件對其進行流固耦合分析,通過實驗分析得到相關數據,設計了起重機的防傾覆報警系統,并進行風洞實驗,通過數據對比,分析了風洞實驗與數值仿真的區別,得到了相關補償公式。
綜上所述,目前國內外研究人員對岸橋的風致振動響應特性及風洞實驗進行了研究。但是,在分析起重機在風載荷下結構振動響應時,少有研究考慮到滑動因素對岸橋結構位移的影響。基于此,將建立岸橋滑動狀態下動力學模型,并通過Abuqus 對其進行驗證,以此來預測岸橋的動力學響應。
1 岸橋動力學模型
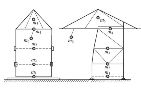
由于主要考察岸橋沿軌道方向的動力學響應,為方便動力學建模而不失描述系統的主要特性,假設:1)系統的自由度平行于地面;2)岸橋中分布載荷簡化到相應單元質量中心的點質量;3)風力的作用方向平行于軌道方向,且均布作用在各個重心位置處。依據上述簡化,在Azelogl C O[8] 所提出的起重機動力學模型基礎上進行改進,所得岸橋結構簡圖與岸橋受限滑動的動力學模型如圖1 和圖2 所示。m 為岸橋行走機構、下橫梁、門框支撐桿、上橫梁、吊臂和有效載荷的質量;x 為相關結構在水平方向的位移,θ 為吊重與豎直方向的夾角;k 與c 分別為各層之間的等效剛度系數及等效阻尼系數;Ff、FP、gP 分別為行走機構與軌道摩擦力、行走機構與防風裝置碰撞力、行走機構與防風裝置間隙。

圖1 岸橋結構簡化圖

圖2 岸橋受限滑動的動力學模型
根據圖2 所示模型及拉格朗日法,建立的岸橋模型動力學方程為

式中:x(t)為縱向動力學模型各結構之間的水平位移,F(t)為各結構受到的水平外力,M、C、K 為各結構的質量、阻尼和剛度矩陣。
在上式中,M 為岸橋各結構的質量,可通過測量直接獲取,K可通過對岸橋做推覆分析獲得,C通過以式(2)獲得,即
式中:α、β 為瑞利阻尼系數。

式中:ωm、 ξm 分別為岸橋的第m 階固有頻率、阻尼比。在實際工程中,一般低階頻率起主導作用,通常取結構的第一階與第二階振型的固有頻率與阻尼比來確定其瑞尼阻尼系數α 與β。
風載荷計算表達式為

式中:C 為風力系數,其與受風構件結構相關;p為計算風壓,p = γv2/2,γ 為空氣密度,一般取1.25 kg/m3;v 為計算風速;A 為受風構件的垂直迎風面積。岸橋行走機構與軌道摩擦力Ff 公式為

式中:函數sgn[v] 為速度v 的符號,G 為岸橋結構總質量。
岸橋行走機構與防風裝置碰撞力FP 公式為

式中:kh 為Hertz 模型剛度參數;x 為兩物體相對位移;gp 為兩物體之間的間隙;ch 為阻尼系數;n 為Hertz 系數,一般取3/2。
2 岸橋的結構位移響應研究
2.1 岸橋動力學模型數值解析
完成岸橋動力學模型的建立后,為便于數值模擬,選擇狀態空間法對該動力學模型進行解析,對式(1)左乘M-1 可得得到多自由度振動系統狀態方程后, 可通過Matlab 軟件中Simulink 模塊對該方程進行處理,通過不同模塊之間的連接,實現該動力學方程的求解。該數值模擬程序流程為:調用狀態空間法模塊;岸橋關鍵參數如表1 所示,輸入通過上述參數得到的狀態方程特征矩陣A、B、D、E;通過Matlab 生成10 級脈動風載荷如圖3 所示,結合表2 岸橋結構參數,輸入得到的風載荷作用力;確定岸橋的初始狀態;調用積分程序求解岸橋各層的速度和位移;通過速度和位移取得岸橋輪軌之間的摩擦力與碰撞力輸出數值模擬結果。由于岸橋行走機構、下橫梁、門框支撐桿、上橫梁即可反應岸橋結構的響應,故選擇位移x1 ~ x4 對岸橋運動狀態進行分析。
圖4 為岸橋縱向各結構的位移響應曲線。從岸橋結構位移曲線中可知,其在遭遇陣風襲擊時,岸橋每一層之間均發生振動,且該振動頻率相近;從位移曲線可知,岸橋在防風裝置保護下,其行走機構在一定范圍內移動,說明岸橋在防風裝置保護下沒有和其他物體發生碰撞從而傾覆的風險。岸橋各層的位移最大值均發生在t = 2s 左右,此時為岸橋最危險狀態。分析原因可知,在2s之后岸橋結構位移開始方向運動,說明t = 2 s 時岸橋在風載荷作用下與底部防滑裝置發生碰撞。

圖3 10 級脈動風風速曲線圖

圖4 岸橋的位移- 時間響應曲線
2.2 防風狀態下岸橋動態特性的有限元仿真
2.2.1 岸橋有限元模型的建立
岸橋有限元模型如圖5 所示。對岸橋進行建模時,采取直接建模法,岸橋有限元模型在單元類型選擇上主要為梁單元、實體單元、剛體單元等。梁單元通常用于模擬物體在某個長度大于另外兩個方向的結構形式,通常為細長結構。岸橋的主體結構如立柱、門框、上下橫梁、大梁、拉桿、撐桿等均為細長結構。因此,梁單元為岸橋建模時的主要單元,該單元能夠模擬梁的彎曲、扭轉、拉壓,其每個節點在空間上具有6 個自由度:分別為X、Y、Z 方向上平移和扭轉。

圖5 岸橋仿真模型示意圖
2.2.2 外載荷的施加及約束條件
1)載荷的施加
重力載荷均通過施加全局加速度方式添加,風載荷通過填表法施法,使用Matlab 軟件中生成的風載荷信號,施加在動力學模型集中質量點各層對應位置。
2)邊界約束
由于岸橋輪軌與軌道為面接觸,故其接觸模型為面對面。由于行走機構與防風裝置存在間隙,岸橋在一定范圍內可以滑動,通過在岸橋平行軌道方向設置剛性墻方式實現,以避免集裝箱轉動,限制集裝箱轉動自由度。
3 仿真結果分析
對岸橋進行有限元建模并對其進行仿真運算,圖6為有限元分析結果,從圖中曲線初步分析,該岸橋有限元位移和模擬仿真位移曲線相似。在相同工況下,岸橋結構位移曲線和數值模擬位移曲線,其振動頻率和幅值基本相近,其波峰出現位置也大致相同。

圖6 岸橋有限元位移- 時間響應曲線圖
4 對比分析
由于岸橋結構響應曲線較多,上橫梁為岸橋主體框架最上部,能代表岸橋動態趨勢。因此,選取岸橋上橫梁位移作為有限元仿真和動力學數值模擬位移曲線進行結果對比,FEM 為有限元分析結果,Theory 理論動力學模型結果。由圖7 可知,數值模擬位移曲線和有限元仿真曲線在仿真前期整體趨勢基本一致,隨著時長的增加后期出現相對偏差,但基本可反應岸橋整體運動趨勢。

圖7 岸橋上橫梁位移對比圖
5 結論
以岸橋作為實例,對10 級脈動風載作用下的動力學模型進行了理論模型計算,得到了其動態響應曲線。而后,使用Abaqus 軟件建立了該岸橋的三維分析模型,并依據相同工況進行了有限元仿真,通過對比兩者實驗結果,發現數值模擬結果與仿真結果基本吻合,說明本文建立的岸橋防風機理模型在研究岸橋沿軌方向上的結構位移響應是可靠的,可為設計人員提供參考。
參考文獻
[1] 張開學,錢敏圣. 港口岸邊集裝箱起重楓的防風保護[J].港口科技,2011(12):15-20.
[2] Klinger C.Failures of cranes due to wind induced vibrations[J].Engineering Failure Analysis,2014,43(4):198-220.
[3] 李曉猛. 岸扭集裝箱起重機圓截面桿件風致振動及控制的研究[D]. 上海:上海海事大學,2004.
[4] Seong Wook Lee,Jae Joon Shim,Dong Seop Han,et al.An experimental analysis of the effect of wind load on the stability of a container crane[J].Science Citation Index Expanded,2007,21(3):448-454.
[5] Jong-Hoon Kang,Sang-Joon Lee.Experimental study of wind load on a container crane located in a uniform flow and atmospheric boundary layers[J].Engineering Structures, 2008(30):1 913-1 921.
[6] Sang-Joon Lee,Jong-Hoon Kang.Wind load on a container crane located in atmospheric boundary layers[J].Journal of Wind Engineering and Industrial Aerodynamics,2008(96):193-208.
[7] Dong-Seop Han,Geun-Jo Han.The difference in the uplift force at each support point of a container crane between FSI analysis and a wind tunnel test [J].Journal of Mechanical Science and Technology,2011,25(2):301-308.
[8] Azeloglu C O,Edincliler A,Sagirli A.Investigation of Seismic Behavior of Container Crane Structures by Shake Table Tests and Mathematical Modeling[J].Shock and Vibration,2014.
武漢理工大學物流工程學院 武漢 430063
摘 要:強風侵襲是促使岸橋發生傾覆破壞的重要原因。為了研究風載荷作用下軌行式起重機的結構位移響應,以岸邊集裝箱式起重機為研究對象,通過建立風振響應模型,分析動態響應結果,對整機滑動造成的影響展開了詳細研究。結果顯示,該模型可以預測岸橋的結構位移響應,可對起重機的設計提供參考。
關鍵詞:岸邊集裝箱起重機;風振模型;位移響應;強風
中圖分類號:U653.921 文獻標識碼:A 文章編號:1001-0785(2020)17-0046-05
0 引言
隨著集裝箱碼頭數量的增多,集裝箱港口的吞吐量不斷增加,使得岸邊集裝箱起重機(以下簡稱岸橋)朝著大型化、高效率的方向發展,由此導致岸橋迎風面積和風力中心的高度增加,所以岸橋遭受風災的可能性也隨之增高[1]。
在早期研究中,工程師往往忽略了風載荷的動態效應,直到美國新建的懸索橋在投入使用僅四個月被遠低于設計風速的風力作用下發生破壞,人們才開始重視對風載荷的研究。目前,研究人員對岸橋風振響應進行了大量研究。C.Klinger[2] 利用非線性和非平穩理論的結合,研究了起重機結構桿件的風振響應,通過實驗驗證了風載荷造成的疲勞損傷是桿件斷裂的主要原因。李曉猛[3]以岸橋為研究對象,利用風洞試驗分析了圓形桿件的風振問題,發現了在風載荷作用下桿件后方出現的渦流及產生風振的原因。Seong Wook Lee[4] 等采用風洞試驗研究了風荷載對集裝箱起重機穩定性的影響,根據風荷載作用下起重機各支承點上拔力和入射角確定了各方向阻力和傾覆力矩系數,為設計人員提供了參考。Jong-Hoon Kang[5] 通過對1/150 的集裝箱起重機模進行風洞模擬實驗,研究發現起重機在開闊內陸時較開闊海岸的
風載荷減少了20%。Sang-Joon Lee[6] 通過對集裝箱起重機進行風洞實驗,研究了雷諾數對氣動系數的影響,并發現樓梯、車輪、扶手等將會增加風載荷對起重機結構的影響。D.S.Han[7] 以集裝箱起重機為研究對象,使用Ansys CFX 軟件對其進行流固耦合分析,通過實驗分析得到相關數據,設計了起重機的防傾覆報警系統,并進行風洞實驗,通過數據對比,分析了風洞實驗與數值仿真的區別,得到了相關補償公式。
綜上所述,目前國內外研究人員對岸橋的風致振動響應特性及風洞實驗進行了研究。但是,在分析起重機在風載荷下結構振動響應時,少有研究考慮到滑動因素對岸橋結構位移的影響。基于此,將建立岸橋滑動狀態下動力學模型,并通過Abuqus 對其進行驗證,以此來預測岸橋的動力學響應。
1 岸橋動力學模型
由于主要考察岸橋沿軌道方向的動力學響應,為方便動力學建模而不失描述系統的主要特性,假設:1)系統的自由度平行于地面;2)岸橋中分布載荷簡化到相應單元質量中心的點質量;3)風力的作用方向平行于軌道方向,且均布作用在各個重心位置處。依據上述簡化,在Azelogl C O[8] 所提出的起重機動力學模型基礎上進行改進,所得岸橋結構簡圖與岸橋受限滑動的動力學模型如圖1 和圖2 所示。m 為岸橋行走機構、下橫梁、門框支撐桿、上橫梁、吊臂和有效載荷的質量;x 為相關結構在水平方向的位移,θ 為吊重與豎直方向的夾角;k 與c 分別為各層之間的等效剛度系數及等效阻尼系數;Ff、FP、gP 分別為行走機構與軌道摩擦力、行走機構與防風裝置碰撞力、行走機構與防風裝置間隙。

圖1 岸橋結構簡化圖

圖2 岸橋受限滑動的動力學模型
根據圖2 所示模型及拉格朗日法,建立的岸橋模型動力學方程為

式中:x(t)為縱向動力學模型各結構之間的水平位移,F(t)為各結構受到的水平外力,M、C、K 為各結構的質量、阻尼和剛度矩陣。
在上式中,M 為岸橋各結構的質量,可通過測量直接獲取,K可通過對岸橋做推覆分析獲得,C通過以式(2)獲得,即
式中:α、β 為瑞利阻尼系數。

式中:ωm、 ξm 分別為岸橋的第m 階固有頻率、阻尼比。在實際工程中,一般低階頻率起主導作用,通常取結構的第一階與第二階振型的固有頻率與阻尼比來確定其瑞尼阻尼系數α 與β。
風載荷計算表達式為

式中:C 為風力系數,其與受風構件結構相關;p為計算風壓,p = γv2/2,γ 為空氣密度,一般取1.25 kg/m3;v 為計算風速;A 為受風構件的垂直迎風面積。岸橋行走機構與軌道摩擦力Ff 公式為

式中:函數sgn[v] 為速度v 的符號,G 為岸橋結構總質量。
岸橋行走機構與防風裝置碰撞力FP 公式為

式中:kh 為Hertz 模型剛度參數;x 為兩物體相對位移;gp 為兩物體之間的間隙;ch 為阻尼系數;n 為Hertz 系數,一般取3/2。
2 岸橋的結構位移響應研究
2.1 岸橋動力學模型數值解析
完成岸橋動力學模型的建立后,為便于數值模擬,選擇狀態空間法對該動力學模型進行解析,對式(1)左乘M-1 可得得到多自由度振動系統狀態方程后, 可通過Matlab 軟件中Simulink 模塊對該方程進行處理,通過不同模塊之間的連接,實現該動力學方程的求解。該數值模擬程序流程為:調用狀態空間法模塊;岸橋關鍵參數如表1 所示,輸入通過上述參數得到的狀態方程特征矩陣A、B、D、E;通過Matlab 生成10 級脈動風載荷如圖3 所示,結合表2 岸橋結構參數,輸入得到的風載荷作用力;確定岸橋的初始狀態;調用積分程序求解岸橋各層的速度和位移;通過速度和位移取得岸橋輪軌之間的摩擦力與碰撞力輸出數值模擬結果。由于岸橋行走機構、下橫梁、門框支撐桿、上橫梁即可反應岸橋結構的響應,故選擇位移x1 ~ x4 對岸橋運動狀態進行分析。
圖4 為岸橋縱向各結構的位移響應曲線。從岸橋結構位移曲線中可知,其在遭遇陣風襲擊時,岸橋每一層之間均發生振動,且該振動頻率相近;從位移曲線可知,岸橋在防風裝置保護下,其行走機構在一定范圍內移動,說明岸橋在防風裝置保護下沒有和其他物體發生碰撞從而傾覆的風險。岸橋各層的位移最大值均發生在t = 2s 左右,此時為岸橋最危險狀態。分析原因可知,在2s之后岸橋結構位移開始方向運動,說明t = 2 s 時岸橋在風載荷作用下與底部防滑裝置發生碰撞。

圖3 10 級脈動風風速曲線圖

圖4 岸橋的位移- 時間響應曲線
2.2 防風狀態下岸橋動態特性的有限元仿真
2.2.1 岸橋有限元模型的建立
岸橋有限元模型如圖5 所示。對岸橋進行建模時,采取直接建模法,岸橋有限元模型在單元類型選擇上主要為梁單元、實體單元、剛體單元等。梁單元通常用于模擬物體在某個長度大于另外兩個方向的結構形式,通常為細長結構。岸橋的主體結構如立柱、門框、上下橫梁、大梁、拉桿、撐桿等均為細長結構。因此,梁單元為岸橋建模時的主要單元,該單元能夠模擬梁的彎曲、扭轉、拉壓,其每個節點在空間上具有6 個自由度:分別為X、Y、Z 方向上平移和扭轉。

圖5 岸橋仿真模型示意圖
2.2.2 外載荷的施加及約束條件
1)載荷的施加
重力載荷均通過施加全局加速度方式添加,風載荷通過填表法施法,使用Matlab 軟件中生成的風載荷信號,施加在動力學模型集中質量點各層對應位置。
2)邊界約束
由于岸橋輪軌與軌道為面接觸,故其接觸模型為面對面。由于行走機構與防風裝置存在間隙,岸橋在一定范圍內可以滑動,通過在岸橋平行軌道方向設置剛性墻方式實現,以避免集裝箱轉動,限制集裝箱轉動自由度。
3 仿真結果分析
對岸橋進行有限元建模并對其進行仿真運算,圖6為有限元分析結果,從圖中曲線初步分析,該岸橋有限元位移和模擬仿真位移曲線相似。在相同工況下,岸橋結構位移曲線和數值模擬位移曲線,其振動頻率和幅值基本相近,其波峰出現位置也大致相同。

圖6 岸橋有限元位移- 時間響應曲線圖
4 對比分析
由于岸橋結構響應曲線較多,上橫梁為岸橋主體框架最上部,能代表岸橋動態趨勢。因此,選取岸橋上橫梁位移作為有限元仿真和動力學數值模擬位移曲線進行結果對比,FEM 為有限元分析結果,Theory 理論動力學模型結果。由圖7 可知,數值模擬位移曲線和有限元仿真曲線在仿真前期整體趨勢基本一致,隨著時長的增加后期出現相對偏差,但基本可反應岸橋整體運動趨勢。

圖7 岸橋上橫梁位移對比圖
5 結論
以岸橋作為實例,對10 級脈動風載作用下的動力學模型進行了理論模型計算,得到了其動態響應曲線。而后,使用Abaqus 軟件建立了該岸橋的三維分析模型,并依據相同工況進行了有限元仿真,通過對比兩者實驗結果,發現數值模擬結果與仿真結果基本吻合,說明本文建立的岸橋防風機理模型在研究岸橋沿軌方向上的結構位移響應是可靠的,可為設計人員提供參考。
參考文獻
[1] 張開學,錢敏圣. 港口岸邊集裝箱起重楓的防風保護[J].港口科技,2011(12):15-20.
[2] Klinger C.Failures of cranes due to wind induced vibrations[J].Engineering Failure Analysis,2014,43(4):198-220.
[3] 李曉猛. 岸扭集裝箱起重機圓截面桿件風致振動及控制的研究[D]. 上海:上海海事大學,2004.
[4] Seong Wook Lee,Jae Joon Shim,Dong Seop Han,et al.An experimental analysis of the effect of wind load on the stability of a container crane[J].Science Citation Index Expanded,2007,21(3):448-454.
[5] Jong-Hoon Kang,Sang-Joon Lee.Experimental study of wind load on a container crane located in a uniform flow and atmospheric boundary layers[J].Engineering Structures, 2008(30):1 913-1 921.
[6] Sang-Joon Lee,Jong-Hoon Kang.Wind load on a container crane located in atmospheric boundary layers[J].Journal of Wind Engineering and Industrial Aerodynamics,2008(96):193-208.
[7] Dong-Seop Han,Geun-Jo Han.The difference in the uplift force at each support point of a container crane between FSI analysis and a wind tunnel test [J].Journal of Mechanical Science and Technology,2011,25(2):301-308.
[8] Azeloglu C O,Edincliler A,Sagirli A.Investigation of Seismic Behavior of Container Crane Structures by Shake Table Tests and Mathematical Modeling[J].Shock and Vibration,2014.
手機版|
關注公眾號|

下載手機APP

